

2.Discharge non condensed gas,which could effectively protect heat effect of steam pipeline.
水系統排氣閥/WATER SYSTEM DISCHARGE AIR VALVE 3 SERIES

技術參數/Technique parameter
|
產品型號 Product model |
技術參數 Technique parameter |
|||
|
閥體材料 Valve body material |
PMA (MPA) |
最高允許溫度 Maximum Allowable temperature |
適用介質 Used medium |
|
|
AV21、AV30、 AE14 AF-4、 ZP1、ZP2 |
碳鋼 Carbon steel 碳鋼 Carbon steel |
1.6 1.6 |
425 425 |
空氣、水 Air、Water 空氣、水 Air、Water |
主要零件材料/The materials of primary accessories
|
零部件名稱 Part and component name |
材質 Material |
|
閥體、閥蓋 Valve body、Valve cover |
碳鋼、不銹鋼 Carbon steel、Stainless steel |
|
內件 Inner parts |
不銹鋼、不銹雙金屬 Stainless steel、stainless bimetal |
|
閥座 Valve seat |
不銹鋼 Stainless steel |
|
過濾網 Filtrating screen |
不銹鋼 Stainless steel |
|
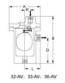
產品型號 Product model |
口徑(DN) Calibre |
Amm |
Bmm |
Dmm |
Kmm |
Lmm |
重量 (kg) Weight |
最高允許壓力 (殼體設計壓力) Maximum Allowable Pressure (design Pressure of the shell) |
|
|
碳鋼 Carbon steel |
32-AV |
15,20 |
171 |
259 |
141 |
32 |
86 |
14 |
4.1MPa@38℃ 3.4MPa@399℃ |
|
33-AV |
20,25 |
203 |
294 |
154 |
37 |
98 |
22 |
6.9MPa@38℃ 4.1MPa@399℃ |
|
|
36-AV |
40,50 |
301 |
435 |
229 |
54 |
154 |
74 |
||
注:可提供全316不銹鋼材料。如需側進側出連接方式,其尺寸亦同上。有些浮球充油加重,詳情請咨詢廠家
。
