

波紋管式疏水閥/BELLOWS SEAL TRAP


技術參數/Technique parameter
|
殼體壓力等級 Shell pressure grade |
最大工作壓差 Maximum operating pressure differential |
最高允許溫度 Maximum allowable temperature |
允許背壓率 Permitted backpressure rate |
|
|
1.6、 2.5MPA |
1.6MPA |
350℃ |
75% |
|
|
抗凍性 Freezing resistance |
排空氣裝置 Air exhaust system |
使用介質 Used medium |
節能效果 Energy saving effect
|
負荷泄漏率 Load leakage
|
|
優秀 Excellence |
自動 Automatic |
蒸汽、凝結水 Steam、 condensate water |
優秀 Excellence |
0% |
主要零件材料/The materials of primary accessories
|
零部件名稱 Part and component name |
材質 Material |
|
閥體、閥蓋 Valve Body、Valve Cover |
碳鋼、不銹鋼 Carbon steel、Stainless steel |
|
液囊 Reservoir |
不銹鋼和易揮發液體 Stainless steel、Volatile liquid |
|
閥座 Valve seat |
高鉻不銹鋼、四氟 High chrome stainless steel、Four Fluorine |
|
過濾網 Filtrating screen |
不銹鋼 Stainless steel |
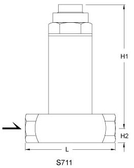
外形尺寸和重量/Prime out-form dimensions and weigh
產品型號
Product
model
口徑(DN)
Calibre
L法蘭
Flange
L螺紋/
焊接
Thread/
welding
H1
H2
W
重量(kg)
weight
使用壓力
范圍(MPa)
Pressure
Change
range
公稱壓力
(MPa)
Nominal
pressure
S711
15~20
25
-
90
95
148
170
28
26
55
55
2.0
2.2
0.1-1.6
2.5
注解
1、選型時請提供工作壓力、工作壓差、凝結水發生量、工作溫度、連接方式及標準。